端午节,又称端阳节、龙舟节、重五节、天中节等,是集拜神祭祖、祈福辟邪、欢庆娱乐和饮食为一体的民俗大节。
端午节降至,今天小编来给大家盘点与端午节相关的商标,都来看看有哪些吧?
端午节相关商标盘点
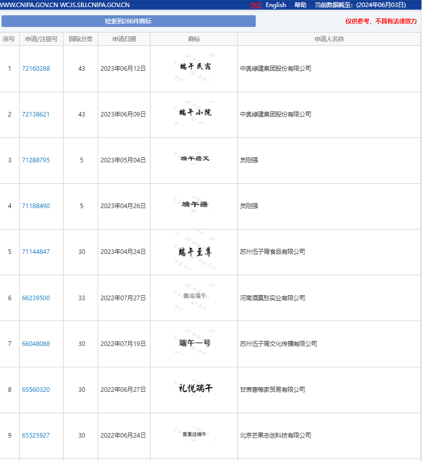
根据中国商标网商标综合查询发现,截至目前,共有286件含有“端午”字样的商标。

其中包括绝大多数为申请被驳回、不予受理等,导致商标无效的约占89%,等待实质审查的,
这部分比例约占4%。成功注册的所占比例最小,约占7%。
而已注册成功的商标只有很小一部分指定使用在第30类咖啡,茶,可可和咖啡代用品;米;食用淀粉和西米;
面粉和谷类制品;面包、糕点和甜食;冰制食品;糖,蜂蜜,糖浆;鲜酵母,发酵粉;食盐;芥末;
醋,沙司(调味品);辛香料;饮用冰等服务上。如,“端午印象”、“端午至尊”。
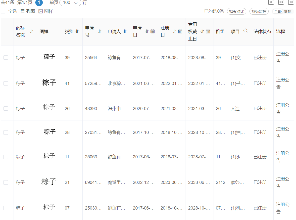
除了“端午”节日名称,与端午节相关的“粽子”也被注册成了商标。
据查询发现,“粽子”申请商标596件,315件已注册,其中大部分使用在第30类3007粽子、
35类3501 为零售目的在通信媒体上展示商品;3501 产品展示;3501 广告宣传;3501 广告策划;
3502 通过网站提供商业信息;3503 为商品和服务的买卖双方提供在线市场;3503 市场营销;3504 人事管理咨询;
3506 在计算机数据库中更新和维护数据;3509 药用、兽医用、卫生用制剂和医疗用品的零售等服务上。

说起端午节的起源,就不得不提到战国时期楚国伟大诗人屈原了。屈原是战国时期楚国的著名诗人和政治家,
他倡导改革,但因遭到奸臣的排挤,被流放至汨罗江。公元前278年,楚国国都被秦军攻破,屈原悲愤交加,投汨罗江自尽。
为了纪念这位伟大的爱国诗人,人们在他投江的那天——农历五月初五,以赛龙舟、吃粽子等方式来表达对他的怀念。
经查询,关于“屈原”的
申请商标截至到目前共308件,其中187件已注册。其中大部分使用在第30类3001 咖啡;3002 (1)茶;
3003 糖;3004 糖;3005 蜂蜜;3006 糕点;3007 粽子;3008 米;3008 谷类制品;3009 面条;3012 魔芋粉等服务上。
“节分端午自谁言,万古传闻为屈原。”在中国历史上,一个人与一个节日、一个民俗有如此密切的关系,恐怕只有屈原了。
而屈原的爱国情怀对后世更是有着深远意义及影响。那么将如此重要的历史文人注册成商标合理吗?
将屈原注册成商标合理吗?
按照我国《商标法》规定,在不能为商标使用的八种情形中,不包括将历史人物或经典人物的姓名注册为商标。
需要注意《商标法》第十条规定,有害于社会主义道德风尚或者有其他不良影响的,不得作为商标使用。
《商标审查及审理标准》对“其他不良影响”作出了定义:“是指商标的文字、图形或者其他构成要素对我国政治、
经济、文化、宗教、民族等社会公共利益和公共秩序产生消极的、负面的影响。”同时还规定:“与国家、
地区或者政治性国际组织领导人姓名相同或者近似的”属于具有政治上的不良影响。
也就是说,只要不带有歧视性或是不良影响,是可以进行
商标注册申请的,申请注册成功的可能性会比较大。
而可能造成不良影响的“名人”商标,核准的几率就相对较低。
历史名人姓名注册商标使用规范
历史名人姓名注册的商标在具体使用过程中,还是存在一定的风险,需要慎重。若在商业化进行使用时,商标因与历史名人姓名相关,
足以使消费者产生联想,误认为这些商标的注册者或使用者与该名人本人存在某种关联,从而造成损害;或者有丑化、
恶意曲解、侮辱等伤害民族情感,可能会影响到公共秩序、善良风俗,在社会上产生不良影响等问题时,
国家可以以公权力的方式进行制约。
历史文化名人商标,有一定的文化价值和商用价格,对于提高地域品牌、产品知名度和促进地方经济发展具有较好的推动作用。
但是,历史名人是宝贵的传统文化资源,特别像屈原这样的历史名人,在中国人心中更是历史文化和民族情感的神圣符号。
若是放任名人招牌被泛用滥用,让商家将历史人物当作商业推广的噱头,不但伤害民族情感,更不利于传统文化的传承和发展。
因此,对于历史名人商标注册的使用,应限制其使用范围,不得用于损害历史人物象形的领域,以免造成历史名人的形象和名誉被损害,
产生恶劣的社会影响。对于一些滥用历史名人姓名、或用做不正当利益、恶意曲解的情况,需要进一步引导和管理。
商标无小事,企业应该慎重对待商标问题,不仅要遵守法律法规底线,更要讲究社会伦理原则,不盲目跟风蹭热点,端正企业的“三观”。